不動産売却に際し「相場を自分で調べたい」「おおよその目安だけでも把握したい」と考える人は多いのではないでしょうか。マンションや戸建、土地の相場を調べる方法は複数あり、それぞれ適した物件種別や出される相場価格の精度が異なります。
この記事では、不動産売却の相場の調べ方や2025年の不動産売却の相場を紹介します。不動産の売却を検討している方は、参考にしてください。
不動産売却の査定なら三菱地所グループの「TAQSIE」

不動産の売却を考え、これから相場をお調べになる方へ。
不動産の相場を調べる方法はいろいろあります。しかし、実際いくらになるのかを知るためには、不動産会社へ査定に出す必要があります。
とくに年間の取引件数が少ないうえに個別性が高い戸建住宅や土地は、かなり大ざっぱな相場しか概算できません。
精度の高い査定を希望するなら、「TAQSIE(タクシエ)なっとく提案売却コース(仲介)」をご利用ください。経験豊富で実力のあるエージェントとつながれる、登録無料のマッチングサービスです。
売却理由や物件情報、理想の仲介担当者像をもとにあなたにぴったりな人を3人ご紹介します。紹介された3人から提案される、査定金額や売却プランをしっかり比較できます。

適正な査定価格で不動産の売却活動を進めるなら、「TAQSIE(タクシエ)」を利用してみませんか?詳しくは「「売却のプロに相談(無料)」ページ)」をご覧ください
お客様の声:30代n様
購入したときより1,000万円近く高い査定結果でした。
担当者を自分で選べるのがメリットだと思いました。

家を売りたくなったらタクシエ
三菱地所リアルエステートサービスが
あなたのエリアで実績の多い不動産会社をご紹介!
チャットで完結OK!
しつこい営業電話はありません!
【2025年】不動産売却の相場
不動産流通機構のデータによると、2025年9月時点における首都圏、中部圏、近畿圏の不動産の平均成約価格は以下のとおりです。
地域 | 中古マンションの平均成約価格 | 中古戸建ての平均成約価格 | 土地の平均成約価格 |
|---|
首都圏(※1) | 5,352万円 | 3,906万円 | 3,977万円(面積100㎡〜200㎡) |
中部圏(※2) | 2,505万円 | 2,138万円 | 1,881万円(面積100㎡〜200㎡) |
近畿圏(※3) | 3,325万円 | 2,455万円 | 2,451万円(面積50㎡〜350㎡) |
上記は不動産に仲介を依頼して売却する場合の相場です。不動産会社に不動産を買い取ってもらう場合の買取価格は、相場の7〜8割程度になります。
買取では、買い取った不動産を再販する際の利益や経費を見越して不動産会社が価格設定をするため、仲介よりも売却価格が下がる傾向にあります。
(※1)「月例速報 Market Watch 2025年9月度」(公益社団法人 東日本不動産流通機構)
(※2)「月例速報 Market Watch 2025年9月度」(公益社団法人 中部圏不動産流通機構)
(※3)「マンスリーレポート 2025年10月号」(公益社団法人 近畿圏不動産流通機構)
不動産売却相場を調べる方法
不動産の売却相場を調べる方法は複数あり、それぞれ特徴や精度が異なります。おおよその目安を知りたい場合、売却に備えて精度高く見積もりたい場合など、状況によって適切な方法を選ぶのがおすすめです。
今回は、不動産の相場を調べる代表的な方法を8つご紹介します。
| 方法 | 特徴 | 調べられる物件種別と精度 |
|---|
| マンション | 戸建 | 土地 |
|---|
| 購入価格から不動産の売却相場を調べる | 築年数による価格の下落率を購入価格に掛け合わせておおよその相場を出す | △ | △ | ー |
| レインズマーケットインフォメーションで調べる | 近隣エリアにある類似物件の過去の取引情報から相場を推定する | ◎ | 〇 | ー |
| 不動産取引価格情報から調べる | 類似物件の過去の取引事例を参考におおよその相場を算出する | 〇 | 〇 | 〇 |
| 地価公示価格から調べる | 国土交通省が公示する地価公示価格から実勢価格を逆算する | ー | ー | △ |
| 路線価から調べる | 国税庁が公示する相続税や贈与税などの算定基準となる路線価から相場を逆算する | ー | ー | 〇 |
| 固定資産税額から相場を調べる | 固定資産評価証明書に記載された土地の価格から相場を逆算する | ー | ー | 〇 |
| エリアごとの平均単価から相場を調べる | 都道府県単位での不動産の相場を把握する | △ | △ | △ |
| エージェントを活用する | 不動産会社に査定を依頼し物件の個別の状況を考慮した精度の高い相場を把握する | ◎ | ◎ | ◎ |
順番に詳しく解説します。
購入価格から不動産の売却相場を調べる
最初にご紹介するのは、不動産の購入価格と、築年数による不動産価格の下落率を掛け合わせることでざっくりした相場を調べる方法です。マンションや一戸建ては新築時がもっとも価格が高く、築年数が古くなるに従い売却価格が下落していくのが一般的です。そのため市場における平均的な下落率と築年数がわかれば、相場価格が把握できます。
この方法は、物件の状態などが考慮されておらず、エリアも都道府県単位となるので精度は高くありませんが、大まかに価格を把握したいときには有効です。ただし「経年劣化」という概念がない土地の相場を調べることはできません。
購入価格からマンションの売却相場を調べる方法
まずは、購入価格からマンションの売却相場を調べる方法を紹介します。以下は、2025年4月〜6月の首都圏におけるマンションの成約価格の下落率を築年数ごとに表したグラフです。
※首都圏中古マンション・中古戸建住宅地域別・築年帯別成約状況【2025年04~06月】(東日本不動産流通機構)をもとに作成
価格の下落率からマンションの売却価格相場を算出するときには、以下の計算式を用います。
現在のマンションの相場=マンションを購入した価格-(マンションを購入した価格×築年数帯の下落率)
たとえば売却を検討しているマンションが、22年前に4,000万円で購入したものであった場合、現在のおおよその相場は
現在のマンションの相場=4,000万円-4,000万円×36.3%(築21〜25年の下落率)=2,548万円
と概算されます。ただし東京都心といった人気のエリアにあるなど、立地条件などによっては購入時よりも高く売れるケースもあります。あくまでもおおよその目安と考えましょう。
購入価格から戸建ての売却相場を調べる方法
戸建についても、マンションと同様に、築年帯ごとの成約価格の下落率からおおよその相場を算出できます。以下は2025年4月〜6月の首都圏における中古一戸建ての築年数帯別の平均成約価格です。戸建は土地を含むため、マンションよりも価格の下落率は小さいことがわかります。
※首都圏中古マンション・中古戸建住宅地域別・築年帯別成約状況【2025年04~06月】(東日本不動産流通機構)をもとに作成
戸建の相場もマンションの相場と同様に、購入時の価格に築年数にあった下落率を掛けて算出します。
現在の戸建の相場=戸建を購入した価格-(戸建を購入した価格×築年数帯の下落率)
たとえば売却を検討している一戸建てが、28年前に6,000万円で購入したものであった場合、現在のおおよその相場は
現在の戸建の相場=6,000万円-6,000万円×24.2%(築26〜30年の下落率)=4,548万円
と計算されます。
レインズマーケットインフォメーションで不動産の売却相場を調べる
レインズマーケットインフォメーション(REINS Market Information)は、過去の不動産売買の取引情報を公開しているサイトです。国土交通省に指定された不動産流通機構が運営しており、マンション・戸建の取引実績を確認できます。
レインズマーケットインフォメーションを使った相場の調べ方【マンション】
レインズマーケットインフォメーションを使ったマンションの相場の調べ方を解説します。
Step 1. 都道府県、都市から絞り込む
トップページにアクセスしたら、相場を調べたいマンションのある都道府県と地域を選択し、「検索する」ボタンをクリックします。
Step 2. 追加情報を選択する
相場を調べたい物件のある地域の詳細、沿線や最寄り駅、駅からの距離、専有面積、間取り、築年数などを分かる範囲で選択し、「検索する」をクリックします。今回は、「東京都荒川区南千住にある築20年の3LDK(75㎡)の中古マンション」を例に検索しました。※単価は結果を参照するため、初期状態で問題ありません。
Step 3. 取引情報から類似物件を探す
表示される取引情報から、もっとも近い条件の物件を探します。今回は、12番と13番が比較的条件が近いことがわかりました。
Step 4. 類似物件の㎡単価を売却するマンションの㎡と掛け合わせて相場を出す
類似物件の㎡単価を、売却するマンションの㎡と掛け合わせることで、おおよその相場を算出します。
<70㎡のマンションを売却したい場合>
売却したいマンションの相場=単価70〜73万円/㎡×75㎡=5,250万円〜5,475万円
相場は5,250万円〜5,475万円程度と算出されました。
レインズマーケットインフォメーションを使った相場の調べ方【戸建】
続いて、レインズマーケットインフォメーションを使った戸建の相場の調べ方を解説します。
Step 1. 都道府県、都市から絞り込む
トップページにアクセスしたら、相場を調べたい戸建のある都道府県と地域を選択し、「検索する」ボタンをクリックします。
Step 2. 追加情報を選択する
相場を調べたい物件のある地域の詳細、沿線や最寄り駅、駅からの距離、専有面積、間取り、築年数などを分かる範囲で選択し、「検索する」をクリックします。今回は、「東京都荒川区南千住にある築20年の3LDKの戸建」を例に検索しました。※価格は結果を参照するため、初期状態で問題ありません。
Step 3. 取引情報から類似物件を参考相場とする
表示される取引情報から、もっとも近い条件の物件を探し、参考相場とします。今回の条件では、比較的条件が近いのは8番だったので、参考相場は4,600万円としました。
国土交通省が公表する不動産取引価格情報から売却相場を調べる
不動産の売却相場は、国土交通省が公表する不動産取引価格情報から調べられます。不動産取引価格情報は、「不動産情報ライブラリ」で確認できます。相場の具体的な調べ方は、以下のとおりです。
- 不動産の検索条件を設定する
- 検索結果一覧から類似物件を探す
- 取引価格から相場を算出する
それぞれの手順を解説します。
Step 1.不動産の検索条件を設定する
「不動産価格の情報をご覧になりたい方へ」欄の「データの検索・ダウンロード」をクリックします。
出典:「不動産情報ライブラリ」(国土交通省)
検索条件の設定画面が表示されたら、売却したい不動産に該当する地域と種類を選択します。たとえば、東京都荒川区南千住にある中古マンションの相場を知りたい場合は、以下のように検索条件を設定します。
- 地域:東京都荒川区南千住を選択
- 価格情報区分:不動産取引価格情報、成約価格情報にチェック
- 種類:中古マンション等を選択
- 時期:直近の1年間を選択
出典:「不動産情報ライブラリ」(国土交通省)
検索条件を設定したら「一覧表示」をクリックし、検索結果一覧を表示します。
Step 2.検索結果一覧から類似物件を探す
検索結果一覧が表示されたら、最寄り駅からの距離や土地の面積、建物の築年数などから売却したい不動産と近い物件を探します。
出典:「不動産情報ライブラリ」(国土交通省)
各項目でデータを絞り込むことも可能です。たとえば、3LDKのマンションを探したい場合は「専有部分」の「間取り」の右にある▼をクリックし、「3LDK」にチェックを入れるとデータの絞り込みができます。

出典:「不動産情報ライブラリ」(国土交通省)
該当件数が多く確認するのが大変な場合は、フィルタリングをして類似物件をピックアップしましょう。
Step 3.取引価格から相場を算出する
類似物件を見つけたら、取引価格から相場を算出します。土地やマンションの場合は、以下の計算式で相場を算出できます。
一戸建て(土地と建物で検索)の場合は、建物と土地の取引価格をそれぞれ確認できないため、取引総額から相場を判断します。土地と建物の面積が近い物件を探しましょう。
地価公示価格から土地の売却相場を調べる
地価公示価格とは、国土交通省土地鑑定委員会が定めた標準地の1㎡あたりの単価です。土地取引におけるもっとも標準的な価格とされ、毎年3月にその年の1月1日時点の地価が公示されます。
地価公示価格は、国土交通省が提供している「不動産情報ライブラリ」で確認できます。売却相場の調べ方は、以下のとおりです。
- 土地の検索条件を設定する
- 地価公示価格を表示する
- 地価公示価格から相場を算出する
それぞれの手順を解説します。
Step 1.土地の検索条件を設定する
「地価の情報をご覧になりたい方へ」欄の「データの検索」をクリックし、検索条件を設定します。
出典:「不動産情報ライブラリ」(国土交通省)
たとえば、東京都杉並区高円寺南の住宅地の土地を調べたい場合は、以下のように検索条件を設定します。
- 区分:地価公示、地価調査にチェック
- 地域:東京都杉並区高円寺南を選択
- 用途区分:住宅地にチェック
- 調査年:直近の年を選択
- 標準地番号・基準地番号から検索:空白
出典:「不動産情報ライブラリ」(国土交通省)
検索条件を設定したら「一覧表示」をクリックし、検索結果一覧を表示します。
Step 2.地価公示価格を表示する
検索結果一覧が表示されたら、売却予定の土地がある地域に近い標準地の地価公示価格を表示します。
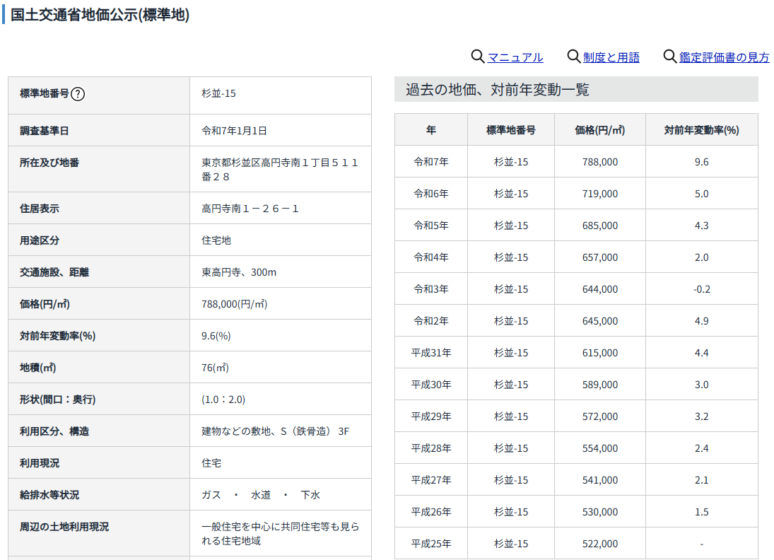
たとえば、高円寺南1丁目にある土地の相場を知りたい場合は、「標準地番号または基準地番号」の列にある「杉並-15」の横に記載されたマーク(赤で囲ってあるマーク)をクリックします。
出典:「不動産情報ライブラリ」(国土交通省)
今回の検索では、2025年1月1日時点における東京都杉並区高円寺南1-511-28の地価公示価格は、78.8万円となっています。
出典:「不動産情報ライブラリ」(国土交通省)
Step 3.地価公示価格から相場を算出する
地価公示価格を確認したら、相場を算出します。実勢価格(相場)は、地価公示価格の約1.1倍になることが多いため、土地の売却相場は以下の計算式で求めます。
土地の売却相場=地価公示価格×売却したい土地の面積(㎡)×1.1 |
たとえば、東京都杉並区高円寺南1丁目にある100㎡の土地の相場は、8,668万円程度(78.8万円×100×1.1)と算出できます。
路線価から土地の売却相場調べる
路線価とは、毎年7月1日に国税庁が公示する、その年の1月1日時点の地価のことです。相続税や贈与の算定基準となる価格で、公示地価や売買実例の価格、不動産鑑定士などによる鑑定評価額などをもとに決められます。
路線価は公示地価の約8割が目安とされているため0.8で割り戻し、さらに実勢価格(相場)は公示地価の約1.1倍とされることから、1.1を掛けることで相場を割り出します。
※実勢価格について、約1.1倍というのは目安となり、物件状況などにより大幅に前後します。
実際に路線価から相場を調べる方法を解説します。今回は「足立区青井1丁目」にある土地を例に、相場を調べてみましょう。
Step 1. 売却したい土地のあると都道府県を選ぶ
国税庁の路線価図・評価倍率表にアクセスし、都道府県を選択します。
Step 2. 「路線価図」をクリックする
Step 3. さらにエリアを絞り込み路線価図を開く
さらに区、町名などで絞り込んでいくと、路線価図が開きます。
道路に沿って記載されている数字が路線価です。路線価は千円単位で表示されるため、260の場合26万円を意味します。数字の後ろに記載されているアルファベットは借地権割合を指しますが、相場を把握する際には関係ありません。
Step 4. 路線価から相場を算出する
売却したい土地が接している道路の路線価をもとに、土地の相場を算出します。
土地の相場=路線価×売却する土地の㎡数÷0.8×1.1
たとえば以下の土地の場合、路線価は26万円です。
土地の面積が80㎡だった場合、土地相場は以下のように算出します。
土地の相場=26万円×80㎡÷0.8×1.1=2,860万円
ただし実際は土地の形状などにより、補正率を掛け合わせる必要があります。特殊な土地ほど価格は下がっていくのが一般的であるため、あくまでも参考価格と考えましょう。
固定資産税評価額から土地の売却相場を調べる
固定資産税評価額は、総務省が定めた「固定資産評価基準」に基づき、各自治体が評価した価額を指し、固定資産税を決める基準となります。固定資産税評価額は、3年に1回、4月にその年の1月1日時点の地価が公表されます。
土地の固定資産税評価額は、公示価格の70%程度とされているため、固定資産税評価額を0.7で割り戻し、さらに公示地価の約1.1倍が実勢価格の目安とされているので、1.1を掛けることで相場の算出が可能です。
※実勢価格について、約1.1倍というのは目安となり、物件状況などにより大幅に前後します。
一方建物については、「再建築価格方式」(評価時に同じ建物を再建築したと仮定した価格から減価償却分などを差し引いて求める価格)が採用されているため、市場価格は反映されません。そのため固定資産税評価額から調べられるのは、土地相場のみとなります。
固定資産税評価額から土地の相場を調べる方法
土地の固定資産税評価額は、毎年役所から送付される以下のような固定資産評価証明書に記載されています。
【画像】東京都主税局
固定資産税評価額をもとにした土地の相場は、以下の計算式で算出します。
土地の相場=土地の評価額÷0.8×1.1
たとえば土地の評価額が4,800万円の場合、
4,800万円÷0.8×1.1=6,600万円
が相場と考えられます。
エリアごとの平均単価から不動産の売却相場を調べる
不動産の相場を算出するには、東日本不動産流通機構(東日本レインズ)が毎月発表している「月例マーケットウォッチ」に掲載されるエリアごとの平均成約価格から相場を調べる方法もあります。この方法は、都道府県という大きなくくりでの相場になるため、ざっくりとした相場を把握したいときに向いています。
エリアごとの平均成約価格から相場を調べる方法
レインズが運営するレインズデータライブラリーにアクセスし、アーカイブからもっとも新しい月例データを開きます。
マンションの相場の計算方法
マンションのある地域の最新の㎡単価に、売却したいマンションの㎡数を掛けて相場を出します。
<売却したいマンションが60㎡の場合>
マンションの相場=92.51万円×60㎡=約5,550万円
戸建は地域の相場のみを確認する
戸建については、最新の成約価格を地域の相場として確認します。
<戸建の成約価格>
土地は㎡単価から相場を計算する
土地については、対象都府県の最新の㎡単価に売却したい土地の㎡数を掛け合わせて大まかな相場を計算します。
<売却したい土地が80㎡の場合>
土地の相場=44.14万円×80=3,531万円
不動産エージェントを活用する
不動産の正確な相場を確認するには、不動産エージェントを活用するのがおすすめです。不動産エージェントとは、不動産会社の担当者のことです。
ここまで各種データなどを利用して、不動産のおおよその相場を自力で調べる方法を紹介してきました。しかしこれらの方法は、不動産個々の事情を考慮していないため、あくまでおおよその目安とする相場しか出せません。
ご自身が売却したい不動産の正確な相場を知るためには、不動産会社の査定を受ける必要があり、とくに物件種別やエリアの特性に精通した担当者に依頼することが重要です。
▼関連記事
不動産売却時の見積もりの取り方は?おすすめの依頼先や注意点も解説
家を売るときの査定はどこに依頼する?選び方や成功ポイント・注意点を解説
不動産売却はどこがいい?大手・中小だけで決めない不動産会社のおすすめの選び方
一括査定サイトよりも不動産エージェントがおすすめな理由
不動産査定というと、一括査定サイトを利用する人も多いようです。確かに一括査定サイトは複数の不動産会社に査定を出せて便利ですが、「誰が担当者になるか分からない」という大きなデメリットがあります。
不動産売却は、実際不動産売却した人の8割が「担当者選びが重要」と回答するほど、担当者の知識とノウハウに成否が左右されると言われています。
不動産売却を成功させるためには、知識や経験が豊富な信頼できる担当者に売却活動を任せることが重要です。
TAQSIE(タクシエ)が実施した調査では、不動産売却経験者・検討者の8割が「仲介担当者選びが重要」と回答しています。
たとえばTAQSIE(タクシエ)では、大手不動産80社以上が推薦した700名以上のエージェントが登録しており、物件情報などからマッチ度が高いと考えられるエージェント3名の提案を受けられます。エージェントの実績を事前に確認したうえで、チャットで気軽に相談しながら担当者を見極められるので、ミスマッチを防げます。さらにパートナーとなった担当者が最後まで責任を持ってサポートするのも安心です。
「スピード売却コース(買取)」では、最短3日で買取価格がわかります。買取を依頼する場合は、複数社が提示する買取価格を比較検討して自分の希望に合う不動産会社を選べます。
関連記事
不動産一括査定のデメリットとは?注意点やおすすめの使い方も紹介
不動産売却の方法とは?流れや必要書類、発生する税金を解説
不動産売却の流れは?かかる期間や必要書類も解説【図解あり】
不動産売却の相場を知りたいならTAQSIE(タクシエ)に相談!
不動産の相場を調べる方法はいろいろありますが、実際いくらになるのかを知るためには不動産会社に査定を依頼する必要があります。ただし、知識や経験が豊富な担当者でなければ、適正な査定額を算出できない可能性があります。
査定を依頼する際は、売りたい物件のある地域に精通した担当者であるかを確認することが重要です。
経験豊富で実力のあるエージェントを探すならば、エージェント紹介サービスの利用がおすすめです。三菱地所グループが運営するTAQSIE(タクシエ)では、大手不動産会社を中心にエース級担当者とマッチングが可能です。あらかじめ実績を確認したうえで、直接チャットでコミュニケーションを取りながら担当者を選べます。
また、納得いくまで売主を探せる「なっとく提案売却コース(仲介)」と、最短3日で買取価格が提示される「スピード売却コース(買取)」から、目的に合わせた売却プランを選択できます。
無料の会員登録で信頼できるパートナーを探せるので、ぜひ利用をご検討ください。
三菱地所リアルエステートサービス 新事業推進部
「不動産売却マスター」編集長
【保有資格】宅地建物取引士、賃貸不動産経営管理士、衛生管理者、ファイナンシャルプランナー3級
2008年入社。人事部門で福利厚生制度などの企画運営、住宅賃貸部門でタワーマンション営業所長、高級賃貸マンション企画などを経て、2018年より経営企画部で主に事業開発を担当し、複数の新規事業立上げに従事。2020年度三菱マーケティング研究会ビジネスプランコンテスト最優秀賞受賞。「TAQSIE」では初期構想から推進役を担い、現在もプロジェクト全般に関わっている。
「不動産の売却に特化した情報を発信する『不動産売却マスター』編集部です。不動産の売却や買取をスムーズに進めるポイントや、税金、費用などをわかりやすく解説します」
あなたのケースにあった
ご成約者の声を見てみる
絞り込む